根据《网络安全法》规定,账号需要绑定手机号才可以使
用评论、发帖、打赏。
请及时绑定,以保证产品功能顺畅使用。
SRAM Eagle eTap山地无线电变?敢想就有!

▲看看尼诺·舒尔特的脚跟后面,答案是肯定的。
SRAM的Eagle eTap可能正在赶来的路上。越野世界冠军尼诺·舒尔特在Instagram上发布的照片显示SRAM的顶级12速山地自行车的无线电子变速套件安装在了其骑乘的Scott Spark上。

▲从发布的照片来看其后拨链器有电池安装位。

▲这是Schurter's Scott Spark的另一个角度,它似乎在车把的右边缺少一个变速拨杆。
尼诺·舒尔特自己的Instagram账号也提供了一个潜在的线索。他的自行车除了刹车外似乎没有从右侧伸出的任何线管。PS:都这样了无线电子变速是没得跑的了~
这张图片显示的是来自左侧的三个软管,包括前轮刹车、前叉锁和后避震调节开关。
专利披露
据荷兰越野单车网站、velozine,SRAM的美国专利图纸已经正式发布。

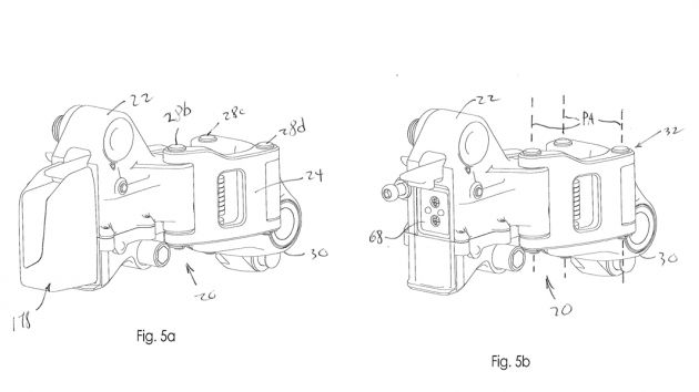
▲有趣的是,本专利用于电动山地车后变速器附图的时间是2013年10月。
专利图纸由SRAM有限责任公司背后的derailleur和SRAM Deutschland GmbH公司所有。

▲在后拨上安装了电池的Eagle eTap似乎是当前XX1 Eagle和公路eTap的混搭结合体。
上一篇:热销爆款 再度更新 Bontrager Velocis 锁鞋
下一篇:返回列表
电变维新之歌唱不起来了
+1
32你想骑车的时候背个充电宝嘛 等他没电的时候是换电池方便还是充电呢
+1
22这玩儿电池塑料下卡扣位置十分容易断掉,我已经葬送了两颗电池。现在用热熔胶勉强粘住将就用
+1
22喜欢禧玛诺变速逻辑,但是禧玛诺的电变走线也好烦啊,什么时候能出无线电变
+1
22烧无止尽!
+1
22
广州美骑网络科技股份有限公司
Magic Cycling Corp.2002-2025 All Rights Reserved.
粤公网安备 44010602000377号
粤ICP备12045810号



