根据《网络安全法》规定,账号需要绑定手机号才可以使
用评论、发帖、打赏。
请及时绑定,以保证产品功能顺畅使用。
Fox新发布关于增强避震花鼓与变速的专利
在岁末年初这段时间,各大品牌纷纷申请发布各种专利,为可能即将发布的相关产品做准备,同时也一定程度预示着未来品牌的技术方向:
相关链接:

Fox Factory申请了一项名为“避震增强花鼓和后拨零件”的专利,概述了两项独立但相关的发明,旨在消除链条张力对自行车后避震和骑行感觉的负面影响。
带有电子驱动离合机构的后拨处理飞轮和后拨之间的链条张力,而自动电子解耦花鼓牙盘和飞轮之间的链条张力。在该专利中,这两个组件都被描述为被可以检测有关骑行重要信息的传感器控制,比如坡度、俯仰和避震动作,同时还描述了优先控制权的问题,允许车手手动控制的行为。
Fox目前对此不予置评,但我们会密切关注今年5月在伦策海德举行的DH世界杯比赛中这些零件的应用。
一、Fox增强避震花鼓和后拨的研发背景
在深入研究Fox Factory这两项专利的细节之前,有必要首先讨论为什么研发这些。你们之前如果有了解过2015年在Leogang举办的DH世界杯可能答案就很明显了。当天,Aaron在刚发车时就发生了掉链,但他最终还是赢得了胜利,这并不是要否定Aaron当天的成就,不过全避震山地车的后避震在没有链条的情况下是有一定优势的。
在有链条的情况下,尤其是主转点和中轴不同的车上,后中心距的增加会增强脚踏回弹,与此同时,沿着后下叉线,后拨在避震压缩阶段延伸时会产生阻力,特别是后拨在链条张紧方面具有离合器机构阻尼保持运动,这两种现象在很大程度上被认为是不良特征,尤其是在避震性能至关重要的速降领域。
此处讨论的Fox Factory专利中描述的两项截然不同的发明,旨在解决上述因避震压缩和回弹而发生的后中心长度变化带来的问题。
二、Fox电子自动解耦花鼓组件

发明中的其中一个是 “电子自动解耦花鼓组件”。一组棘爪容纳在花鼓内,它们可以被迫选择性地与容纳在塔基上的棘轮齿啮合或脱离,这样当骑手踩踏板时,力被传递到花鼓壳以驱动后轮的转动,这种不寻常的倒置排列似乎是本发明的核心所必需的,即棘爪接合由电子控制。
虽然棘爪通常是弹簧控制的,但Fox在此描述了棘爪的接合状态由电磁电路确定的情况(或实施方案),该电磁电路由分布在自行车周围的一个或多个传感器控制。

专利文件指出:“在一个实施样例中,电子自动解耦花鼓组件在每个棘爪中使用磁铁,其上方有电感器/电磁铁,并由花鼓壳内的控制器控制。当不踩踏时,棘爪会被感应器/电磁铁打开或翻转极性以吸引棘爪向上远离棘轮环而。当踩踏板时,感应器/电磁铁会关闭,棘爪的磁铁会吸引到铁质棘轮环上(减少能源消耗),或者可以翻转电感器/电磁铁的极性以排斥棘爪,迫使它们朝向棘轮环“。

“电子自动解耦花鼓组件可以在整个骑行过程中实时且进行近乎无限的自动接合和分离。因此,在大部分骑行期间,车手将拥有所有正常的避震铰接,并且当发生不同程度的剧烈避震事件时,通过电子自动解耦花鼓组件将链条张力将降低,以确保顺畅的避震铰接,同时最大限度地减少通过踏板传递给车手的猛烈回弹的机会”。
三、Fox的电子可分离式后拨组件
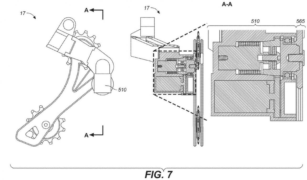
专利内描述的第二项发明是电子可分离式后拨总成。作为专利一部份的图片描述了一个带有暗盒的后拨,一个可以移动的平行四边形组件,以及一个P-Knuckle,其外壳是一个离合器机构,该机构与一个带有上下滑轮的机构耦合。

这个后拨有趣的地方在于P-Knuckle。Fox专利将P-Knuckle描述为一个电机和齿轮,一个弹簧(或螺线管)壳体,一个线性螺线管,一个扭转动力弹簧,一个P-Knuckle离合器固定板,至少一个推力轴承,和一个P-Knuckle外壳。“电子分离”位指的是关于P-Knuckle的结合,似乎后拨内的电子操作离合机构可以选择性的打开或关闭,由来自车上的各种传感器信息决定。
“在一个实际样例中,可分离式后拨在后链距发生变化(如踩踏引起的避震压缩)的情况下啊仍保持啮合,当超大避震冲击发生时,P-Knuckle在链条长度变化期间无法提供显著的阻尼。”在避震压缩期间,最大限度的减少链条张力的英雄,让避震在崎岖的地形上发挥其魔力,这种设计是很有意义的。同时,离合器的存在也防止链条过于松弛,松弛到掉链,显然,Fox的专利也考虑到了这一点。

“保持链张力对于防止掉链很重要,所公开的专利技术显示选择性的将尾钩与P-Knuckle结合与分离,这样当链距增加时,链上的张力被缓解,当链距减少或者不再增加时,张力保持不变。
与任何品牌一样,Fox这项专利涵盖了很多基础设计和延伸设计,包括一个可脱离式变速器总成的版本,能够利用链条本身的“波浪动力学”来实现摩擦脱离和重新接合。这项内容写道:“可分离变速器总成可以根据避震位置和传动装置的状态,主动、自动、连续地调整P-Knuckle相对于尾钩的位置,这样系统将始终有正确的链距和张力,将最大限度减少限度减少链条撞击,可以消除整个避震系统的负载。”
四、Fox想做什么?
我们联系了Fox,询问他们打算如何使用这项技术。不出所料,对方的回答是“无可奉告”。因此,我们只能进行假设。
这项技术的一个明显应用是在DH和Enduro车上,这两种车的踏板回弹和链条张力对车手表现的负面影响相对较高。在过去的几年里,人们已经做了很多尝试来减少踏板回弹带来的影响。例如,OChain的Active Spider在DH世界杯赛道上走红,它允许一些一部分牙盘和曲柄分离,这样曲柄就不会在踏板回弹中被迫向后转,尽可能让车手保持踏板水平的位置。

有趣的是,虽然该专利文件详细介绍了传感器和处理器是如何控制解耦花鼓组件和可分离的后拨的运行状态,但也提到了“优先控制权”的可能性。这表明如果安装在车把上,这两个零件也可能由人为远程控制,可由车手在飞行中操作。
人们可以想象这样一种场景:车手可以在两种预先设定的传动系统状态之间切换,这两种设定取决于他们即将进入的地形。在2023年DH世界杯赛季开始时,我们将密切关注这类事件。
最终,Fox专利中描述的电子自动解耦花鼓和电子可分离后拨总成的控制将集成到Fox Live Valve生态系统中,其中避震阻尼可以实时电子自动调节。
:
考虑到这些避震部件中装有加速度计和其他监测自行车状态的传感器,建议将这些检测数据传递到子自动解耦花鼓和电子可分离后拨并不过分,毕竟Fox Live Valve电子避震系统被要求以每秒1000次的速度监测地形,并在3毫秒内根据该信息做出调整,这比眨眼的速度快100倍!应付花鼓和后拨足够。
最后,考虑到当前避震设计必须考虑链条张力的存在,Fox避震增强花鼓和变速的成功实施对车架工程师未来如何设计全避震山地车将产生巨大影响。
责任编辑:Ting