根据《网络安全法》规定,账号需要绑定手机号才可以使
用评论、发帖、打赏。
请及时绑定,以保证产品功能顺畅使用。
下一代模块化SRAM Eagle直装后拨维护成本更低

SRAM是否会将其下一代山地自行车后拨模块化?自从去年夏天Nino使用SRAM创纪录的夺取10届XC世锦赛冠军以来,我们就一直在观察泄露出来的下一代SRAM XX1 Eagle AXS该如何演变,实际上我们讨论直装方案已经四年多了,模块化结构能否解决寿命问题,以及相应的环保问题?
一、SRAM Eagle模块化直装后拨
根据Nino车上的原型产品、自行车制造商泄露的信息、世界杯领奖台照片和不太机密的活动照片等多重因素显示:SRAM即将推出Eagle山地车后拨的外观已经泄露的七七八八,突出的特点是不再使用尾钩,直接安装在自行车车架上,这要归功于UDH接口,该接口已迅速成为许多自行车制造商的通用标准。
不过,虽然改进成直装设计听起来不错,但许多骑车的人一直担心后拨的可维护性,几十年来,低成本的尾钩和一定程度可牺牲性的设计一直在保护着更加昂贵的后拨,SRAM UDH尾钩售价为16美元,而XX1 AXS后拨售价是753美元,当你摔车或者撞击时,损伤后拨的代价属实高昂。

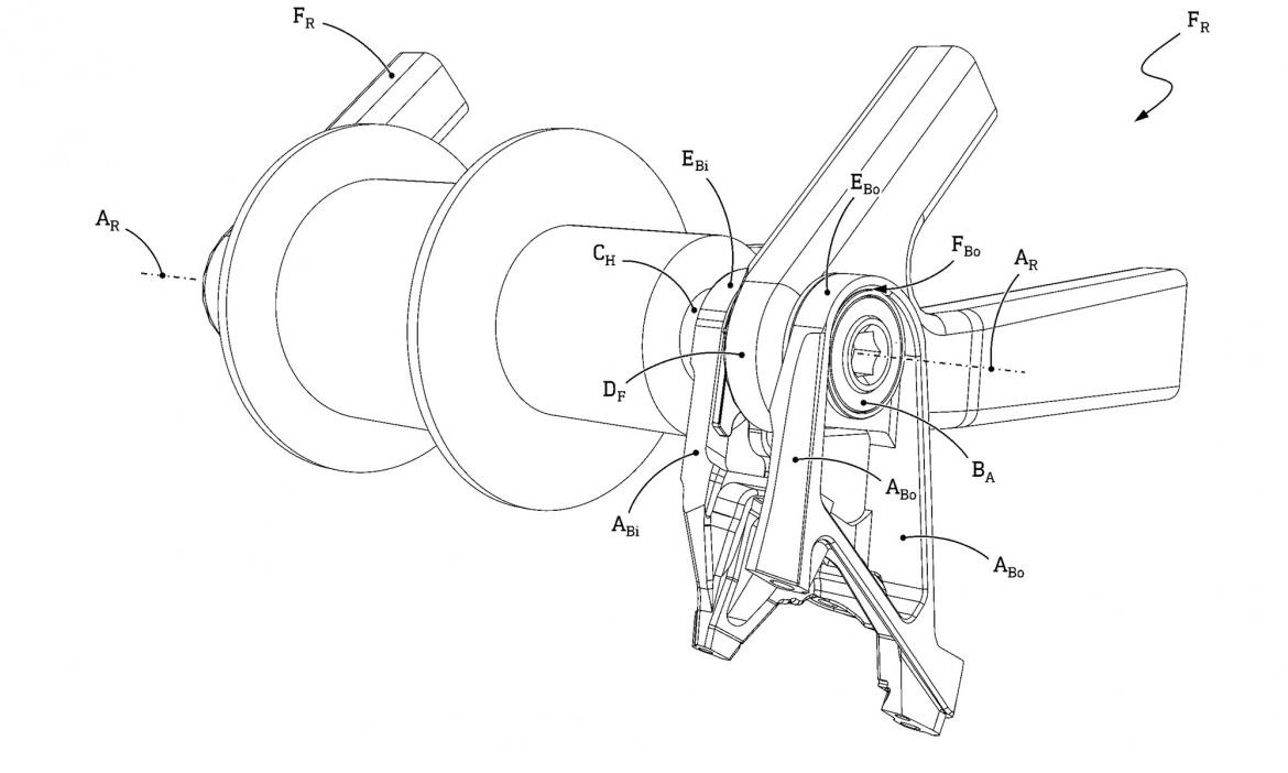
SRAM于2022年12月29日发布的最新专利描述了一种模块化变速器结构,该结构由几个不同的模块组成,每个模块都应该能够单独更换:“基本元件模块”、“旋转结构模块”、“换档元件模块”和“导链模块”。变速器采用模块化设计并不是革命性的,但专利中的这一声明特别有趣:

“产品线中成员与相邻配置成员的套件拆卸接口统一配置,使得同一产品线中的模块可以交换至另一产品中,例如,具有不同材料、不同设计、不同功能、不同特性的同时保留模块的其他不同套件。”
这段拗口的描述听起来就像如果你的XX1后拨损坏了某个零件,使用通用或者低成本的GX后拨配件可以让你重新恢复正常。

SRAM公布的专利展示了一些可以单独更换的修补件,AXS后拨有一个可更换的核心变速组件,其中还有可更换的更小的零件。SRAM的直装后拨可能正在摆脱传统的尾钩设计,但看起来可更换式的直装一体尾钩仍然存在,看起来更像夹在车架上的一体尾钩(Abi或ABo),以及一个将它们固定在一起并用作悬挂下方实际后拨的基础固定板(HG)。

如图7所示,这种设计不止一种变体,这表明兼容性超出了UDH标准接口,或许有助于兼容非UDH或向后兼容?