根据《网络安全法》规定,账号需要绑定手机号才可以使
用评论、发帖、打赏。
请及时绑定,以保证产品功能顺畅使用。
硬件不够 算法来凑 Apple Watch欲涉足单车功率计

去年9月,苹果公司向美国专利局提交了一份题为“单车骑行风阻测算”的专利申请,这项专利可以通过对骑行风阻的估算来为Apple Watch添加功率数据,为什么感觉有点像PowerPod?

▲PowerPod风阻功率计通过对比计算车速、倾斜度、风速、海拔、气压等数据得出功率输出值
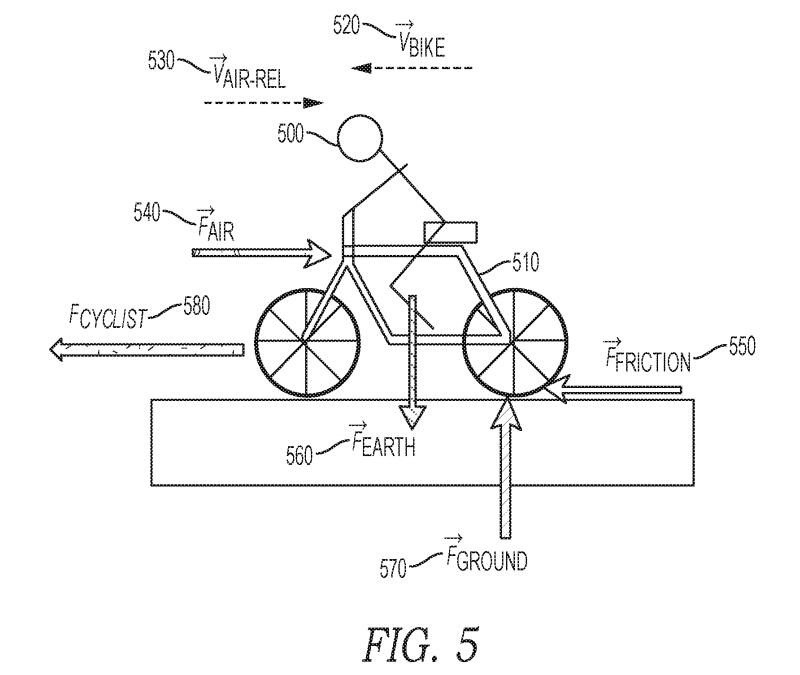
根据近期公示的专利申请文件,我们大概可以知道“Power Apple”的工作原理:通过检测心率、车速、加速度、风速、风向、高度等数据,结合骑行姿态来得出骑行者的功率输出值。使用之前需要进行校准,将骑行风阻与滚动阻力和坡度导致的阻力分离开,从而得到理想状态下的风阻函数,以便在后期更精准的计算功率值。与PowerPod风阻功率计不同,苹果可能会从气象服务平台获取所在地的风向、风速数据(相对制造一款硬件来说,要更廉价,也更容易被非专业用户接受)。

▲苹果列出的风向与有效阻力之间的函数关系

同时苹果在文件中还提到通过可穿戴设备(Apple Watch)来侦测车手的骑行姿态,例如将Apple Watch戴在手腕上,设备能够推断车手是在握上把、手变或者是下把,从而调整计算函数,听起来似乎比PowerPod风阻功率计还要高级。

然而,握下把位的风阻一定会比握手变要小?不一定!同时文件中提到的心率受饮食、环境、情绪、状态等多方面因素影响,也仅能作为一个参考的相对值。通过计算心率、车速、加速度、风速、风向、高度、骑行姿态等因素来估算功率输出值或许是一种更廉价的功率测量方法,然而在数据的精准度上,小编持保留意见。术业有专攻,如今,功率计价格越来越亲民,无论是从价格还是技术层面,小编都不认为苹果的这项专利会给传统功率计产品带来颠覆性的影响。另一方面,和其他许多科技公司一样,苹果公司申请了大量的专利,然而许多专利技术都未曾落地,果粉车友们能否享受到这一科技福利,目前还是未知数。
责任编辑:张大法师
下一篇:返回列表
说真的,你有点喷子的味道
+1
22大部分的智能手表续航都很难熬过1天,手机也相同,这是电池技术的原因,但满足1天骑行也是足够的。根本不存在一会就没电的理由。评论我觉得应该中肯点才对,幽默评论也应该符合基本常理
+1
22
我觉得应该说苹果是硬件不做,算法来凑。。。。
+1
27拉倒,续航撑死一天半。还是仅仅接受信息不主动使用别的功能的情况。
+1
22只想说,任何比aw便宜的功率计都比ap轻,续航也更长。
+1
22广州美骑网络科技股份有限公司
Magic Cycling Corp.2002-2025 All Rights Reserved.
粤公网安备 44010602000377号
粤ICP备12045810号





