根据《网络安全法》规定,账号需要绑定手机号才可以使
用评论、发帖、打赏。
请及时绑定,以保证产品功能顺畅使用。
自动行程调节 Shimano电子避震系统专利解读
Shimano在自行车领域申请的专利或许比其他任何公司都多,今天我们将仔细研究一款Shimano的专利技术,目前,他们已经申请了一项电子避震控制系统的专利,根据专利描述,这将“提高自行车的可用性”。
虽然Shimano的这一描述非常模糊,但仔细想想这一技术非常厉害,该专利的系统可以根据系统记录的数据,以电控的方式调节避震的行程长度和下降速率,这意味着你的前叉行程可以在你需要的的时候自动适应你的节奏。专利图纸显示,目前这一装置应用于电助力自行车,根据专利描述似乎也是专为电助力车研发的,然而并没有任何证据表明这套系统不能应用在普通自行车上。
电子避震系统是做什么的?

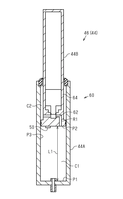
上图描述了一个双室阻尼系统,这两个室之间有一个电控阀来控制两个室之间的液压油流动,可以调节行程和预压。简单地说,电子避震可以自动调整您的避震以提供最合适的行程和预压设定,尤其是在行进时不方便手动调整;虽然我们已经在市面上看到了自动避震的设计,比如Fox Live Valve使用传感器来自动调整以响应地形,但Shimano的电控避震系统和这些完全不同。
Shimano的系统似乎由两种不同的功能组成,首先,控制器是可以主动感知避震/车辆的相对状态信息,这意味着传感器是可以主动知道你的避震是不活跃的,这是液压/气压室基本上是平衡的。其次,电子避震控制系统会收集避震被激活后如何运动的数据,以便于下次或根据软件来更好的调节,而以往车手可能必须手动完成这项工作。

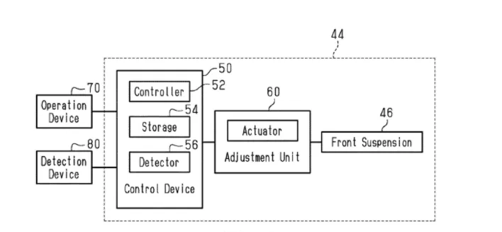
▲上面流程图显示了系统的电子“大脑”的基本工作路径。
专利中描述根据这些储存的信息,再根据“表数据”一一对应的方式,参考现有的信息表,找到此刻相对应的避震最佳设定。换句话说,智能芯片知道你的避震移动了多少并且知道你的避震将要移动多少,有助于在复杂路况更稳定骑行。
一旦这样的数据库建立完成,你的前叉将自动设定匹配你的骑行习惯,行程和预压将自动适应,比如为了优化爬坡,系统感知你要爬坡时将自动锁死前叉以防泄力,而感知到爬坡结束时,将自动开启避震应对下坡。

▲上图显示了带有三个气室的后避震系统,两个阀门控制从一个室到另一个室的空气流量,从而调整行程。
当然,电子避震系统有一台微型电脑,由于目前而言这似乎是一个为电助力自行车设计的设备,它的控制系统可能与现有的电助力中控集成在一起,但专利中并没有具体说明。所以这也有可能会设计成一个独立的芯片,如果能独立出来,将对能在普通自行车上使用具有重大意义。
另外还有一个传感器,用来检测避震的相对位置,为中央芯片提供数据。在避震系统的内部会有电控阀门的开启和关闭来控制避震腔室之间的流体/气体的流动。这意味着系统可以在你不需要时自动锁定你的避震,在你需要时自动激活它。这也意味前叉的行程可以直接通过电子控制器来一键操控。

上图显示了另一个电子原理图,似乎概述了中央芯片需要记录这些类型的数据,以便对避震进行调整。正如该专利所述:“电子控制器会根据相对位置信息控制阀门。”所以电子避震本质上是通过传感器发送的车辆/车手的相对位置信息来学习外界环境,跟踪侦测你的避震运动。Shimano同时还申请还申请了一项关于阻尼的专利,用以适配气压式的的电子避震控制系统。