根据《网络安全法》规定,账号需要绑定手机号才可以使
用评论、发帖、打赏。
请及时绑定,以保证产品功能顺畅使用。
电助力资讯一周速览丨松果出行申请港交所上市 SRAM集成式12速专利
最近7天在电助力领域都发生了哪些新鲜事,出现了什么新产品?请看美骑网为您整理的一周电助力资讯速览。
松果出行申请港交所上市,其运营着超过454000辆共享电动自行车
2026年1月2日,共享电动自行车运营商松果出行(Pinecone Wisdom Inc.)正式向香港联合交易所递交主板上市招股说明书,由华泰国际担任独家保荐人。
松果出行由前美团团队成员翟光龙于2017年创立,业务覆盖从设计、生产到运营的全价值链。截至2025年9月30日,其共享电动自行车已进驻中国422个城市和县域,投放车辆达45.46万辆,累计注册用户1.28亿,每辆活跃车辆日均订单量为3.08单。根据相关的报告显示,按2024年交易额计算,松果出行在区域性市场以18.7%的份额排名第一;在全国范围内,按交易额和车队规模计算,均位列行业第四。
财务方面,公司收入保持稳定:2023年为9.53亿元人民币,2024年为9.63亿元人民币,2025年前三季度为7.46亿元人民币。毛利率显著提升,从2023年的15.8%增长至2025年上半年的24.3%,并于2025年上半年实现调整后净利润2640万元人民币,成功扭亏为盈。
公司获得IDG资本、红杉中国及软银等知名机构投资。首次公开募股前的主要股东包括IDG、险峰和蓝驰创投。此次IPO募集资金将主要用于市场扩张、研发投入、电助力自行车销售商业化以及海外市场探索。
值得一提的是,国内共享电动自行车市场规模在2024年已达166亿元人民币,预计到2032年将增长至1083亿元人民币。

SRAM专利揭示集成式12速电机&变速箱单元的设计
近年来,SRAM在后拨方面投入了更多资源。首先是通用后拨尾勾(UDH),几乎所有的大型厂商,都采用了这种设计。后来人们发现,这其实是在为T-Type后拨的发布做铺垫。它充分利用了新设计的驱动侧空间,打造出坚固耐用、换挡干脆利落的后拨。想必任何一家理智的自行车厂商都不会推出与SRAM UDH及其Transmission传动系统不兼容的自行车。除非,这款自行车本身就不需要这些易损的部件,而是将传动系统和电助力所需的所有组件都集成在了骑行者的双脚之间。
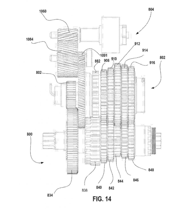
SRAM最近提交的一项专利申请显示,他们可能正在开发一种解决方案,该方案有望传动系统变得多余,至少对于大多数电助力自行车应用而言是如此。这项名为“美国专利申请19/238462——电助力自行车多速驱动单元”的专利申请于圣诞节当天公开,其中包含了关于一种假想的电机&变速箱单元(MGU)的图片和详细信息。相关的信息描述了一种驱动单元,该单元结合了齿轮系统和12个均匀分布的离散齿轮比,提供504%的变速范围。与常见的其他MGU设计相比,这个变速范围相当中等。它比8速Intradrive GD8(尚未量产)的473%变速范围更大,但比12速Pinion MGU的600%变速范围更小。

专利文件中写道:总齿轮比定义为曲柄每旋转一周链轮所需的旋转圈数。最低齿轮比为 1:1,最高齿轮比为 0.198:1。虽然该专利申请中描述的主要设计集中在离散齿轮系统上,但也提到了其他传动系统,例如内变速花鼓、变速箱和/或无级变速器。
它还提到了多种不同的骑行模式,包括骑行者可以使用控制单元切换的模式,以及利用传感器的自动模式。更进一步,它还提到了调整变速本身某些特性的可能性。

近些年来的这些发展预示着前后拨变速的时代可能即将结束,至少在电助力自行车领域是如此。电助力自行车是变速箱技术的天然归宿,因为其增加的扭矩和里程会加速传统传动系统的磨损,而电助力则可以消除任何与阻力相关的缺点。
变速箱更高的可靠性和更低的维护成本通常被认为是其相对于传统前后拨变速系统的主要优势。例如,Pinion MGU每行驶10000公里只需要更换一次油。SRAM的这项设计虽然没有明确说明在这方面的优势,但确实在非驱动侧配备了注油/放油螺塞和油位观察窗。

欧洲自行车行业敦促欧盟将自行车和电助力自行车纳入清洁企业车辆目标
欧盟委员会于2025年12月公布名为加速向零排放企业车辆转型的提案,旨在从2030年起提高大型企业对低排放与零排放车辆的采用率,并为各成员国的轿车和货车设定了差异化目标。然而,欧洲自行车行业对欧盟委员会提出的清洁企业车辆框架提案表示担忧,主张各国在制定清洁车辆目标时应将传统自行车和电助力自行车纳入考量。
欧洲自行车联合会与Cycling Industries Europe作为行业代表指出,该提案几乎完全聚焦机动车辆,未能应对当前及未来的交通需求。相关组织警告称,欧盟委员会在允许汽车制造商继续使用内燃机的同时,却忽视了可加速企业脱碳的非机动及轻型电动交通工具。
因此,行业代表呼吁修改法规草案,允许成员国将自行车和电助力自行车(包括电助力货运自行车)计入清洁车辆目标。具体提议包括:企业所需零排放与低排放汽车的目标份额中,最多10个百分点可通过电助力自行车或传统自行车实现;企业货车的目标份额中可再计入5个百分点。这些自行车可来自税收激励支持的企业租赁计划,或通过财政补贴购买。
此外,行业代表要求明确将企业自行车租赁的税收激励措施,以及直接购买自行车的补贴政策,列为实现国家目标的有效政策工具。

Rad Power Bikes破产程序进行期间,迎来了一位新首席执行官
美国知名的电助力自行车制造商Rad Power Bikes迎来了一位新首席执行官,目前该公司正在经历破产法第11章的程序。
自2024年4月以来一直担任公司首席财务官的安吉丽娜·史密斯于近日接任了领导职位,成为Rad公司三年来的第四位首席执行官。
安吉丽娜此前曾在多家公司担任首席财务官及其他财务职务,包括TrovaTrip、Athena Consumer Acquisition Corp.、Thrive Causemetics、glassybaby、Mixpo、Razorfish和aQuantive。她曾在Zulily担任财务副总裁近五年。
尽管Rad公司本月初申请了破产保护,但该公司表示仍在努力寻求出售,以维持这个知名品牌的生存。
Rad Power Bikes成立于2007年,并于2015年以直接面向消费者的品牌形式推出,迅速崛起成为北美领先的电助力自行车销售商,拥有数百名员工,并筹集了超过3.29亿美元(约合人民币22.97亿元)的资金。但随着疫情期间销售热潮的消退,该公司遭受了裁员和包括关税在内的经济逆风的打击。
Rad公司在破产申请文件中披露,其总负债接近7300万美元,是其3200万美元资产的两倍多。该文件还显示,其总收入持续下降——从2023年的1.298亿美元降至2024年的1.038亿美元,而今年迄今为止仅为6330万美元。

责任编辑:Ting