根据《网络安全法》规定,账号需要绑定手机号才可以使
用评论、发帖、打赏。
请及时绑定,以保证产品功能顺畅使用。
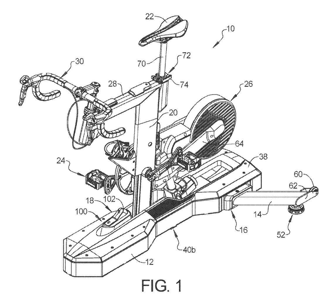
Wahoo新专利:可侧向摇摆的室内自行车
室内骑行技术持续革新,Wahoo正积极引领潮流,近日其一款新型固定式自行车获得专利。该车型可通过侧向倾斜模拟户外骑行的真实动态。
专利设计图与近期发布的Kickr Bike Pro高度相似,但关键改进在于更宽大稳固的底座,其弧形结构集成摇摆机制,使自行车能受控地左右倾斜。专利文件指出,此举旨在突破现有训练系统的局限,解决“无法真实还原户外骑行踩踏感受”的问题。

▲Kickr Bike Pro
双轴运动系统:垂直倾斜+侧向摇摆
新系统将与Kickr Bike Pro已有的20%坡度模拟功能结合,形成垂直倾斜与侧向摇摆的双运动轴。若实现,用户将获得更接近真实路感的动态反馈。
技术优势:核心肌群激活与舒适度提升
尽管已有品牌推出类似系统,Wahoo此款模型首次将训练真实感与精度提升至新高度。倾斜设计不仅能激活核心肌群、减少长时间静态压力,还可通过增强沉浸感提升训练动力。

专利尚未量产,但指明行业方向
需注意该技术仍处于专利阶段,未必会投入市场。但此举清晰揭示了室内骑行技术向拟真化发展的趋势。若最终落地,Wahoo或再度重新定义家庭骑行训练,让室内体验无限逼近真实山路骑行。
责任编辑:Ting