根据《网络安全法》规定,账号需要绑定手机号才可以使
用评论、发帖、打赏。
请及时绑定,以保证产品功能顺畅使用。
美骑快讯|XXL码?NBA巨星詹姆斯也骑瓜车?Canyon专为其打造特大码Grizl
单车劲爆资讯,尽在《美骑快讯》!
本期内容要点:




Giro推出旗舰级的气动头盔Eclipse Pro,是该品牌史上最快的气动头盔。经过内部测试比Eclipse Spherical快17%,专为环法以及高速骑行设计。头盔搭载15个通风口与重新设计的内部气流系统,平衡了气动性与散热性。依旧采用了Spherical技术,搭载了MIPS保护系统以及Roc Loc 5.5 Air调节系统,重量维持在280g左右。整体轮廓与前代相似,但细节经过优化,头盔中心更扁平,后侧更方正。重新设计外部轮廓,减少风阻的同时不增加重量和体积,在侧风、高偏航角等实际骑行场景中提升稳定性。在通风上,没有直接的前额通风口,取而代之是小的菱形开口,顶部中心凹陷区域两端有长条通风口,后部保留3个大型通风口,球形MIPS侧面有向后开放的小型通风口。平衡气动性与散热性,突破传统气动头盔 “牺牲通风换速度” 的局限。预计明年2月中旬上市。




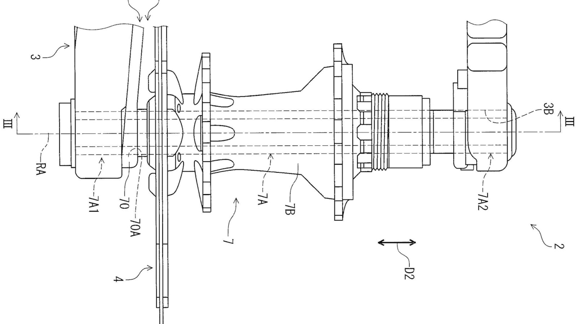
Shimano带来新的专利,这次是关于刹车系统的,推出同轴刹车座专利。该设计与年初SRAM的同类专利思路相近,核心是将刹车夹器安装在悬浮于车轴的独立支架上,夹在花鼓和非驱动侧后叉之间,而非直接固定在车架凸台,可自动实现夹器与碟片对齐,避免依赖车架和花鼓制造商公差,简化安装流程。同时能让车架承受更大压力、简化连接结构、提升夹器组件灵活性。与SRAM专利相比,禧玛诺方案新增更多的安装位置。这一设计,能很好的避免不同品牌之间的公差,不管是车架品牌还是花鼓品牌,也能间接提升车架承受压力的能力,而且能让更多的车架厂商制造出更轻便的摇臂。但其实这一技术也不是最近才有的,早在90年代的Hope也将刹车卡钳安装在下叉处实现同轴,核心目的是让没有刹车座的车架也能使用液压刹车。但不管怎么说,也算是给自行车未来的发展提供更多的可能。




Canyon也有新活,在NBA巨星詹姆斯的社交媒体上展示了,Canyon给身高2米06的詹姆斯打造了一辆Grizl Gravel。这款车主打长途探险、单车露营以及全地形骑行,Canyon也为詹姆斯打造了特大码车架。早在詹姆斯的童年,自行车就是他生活的一部分,2022年詹姆斯也正式向Canyon注资,成为品牌的股东。Grizl有铝合金和碳纤维两种车架可选,针对砾石路骑行优化的几何设计,加长轴距提升了越野稳定性,全系拥有最大54mm的轮胎间隙。高端版本搭载ECLIPS无限续航的照明系统,由发电花鼓和内置3500mAh电池组成,同时车架和前叉设有多个安装孔位,入门款价格为12600元。




杜卡迪最近宣布2026年全面拓展自行车业务,推出全新高性能自行车系列。这一计划是该品牌在自行车领域的重大升级,不仅扩大了产品品类,还首次涉足非电助力的高性能车型,旨在凭借其在设计、技术和性能上的品牌基因,成为自行车行业的重要参与者。包括全新的公路车和Gravel以及eMTB,并且同步开发专业装备、配件以及骑行服,为各车型提供完整使用场景支持。杜卡迪与Gruppo Zecchetto集团进行合作,集团旗下拥有锁鞋品牌DMT、服装品牌Alè Cycling以及碳纤维制造商Diamant Compositi,具备全产业链研发实力。杜卡迪想要将在摩托车行业的性能、创新、设计基因注入自行车产品,为骑行爱好者提供媲美摩托车的品质与情感体验。这位来自意大利的马力狗,究竟能给自行车行业注入什么新的魔力呢,还是要跟KTM来个跨行业对决?
更多详情欢迎点击视频一看究竟。
本期话题:
对于摩托车品牌跨行造自行车,你觉得怎样?
责任编辑:XChen