根据《网络安全法》规定,账号需要绑定手机号才可以使
用评论、发帖、打赏。
请及时绑定,以保证产品功能顺畅使用。
TRP也在开发直装变速器?
自TRP宣布其全新的EVO12和EVO7山地车传动系统以来还不到一周,今天看到母公司TEKTRO的专利出版物,详细介绍了一种全新的后变速器设计:它确实是一个直装设计,直接安装在车架后叉上,与桶轴同轴。
该专利写道,“可以提高自行车后变速器的稳定性,使自行车后变速器能够抵抗冲击或撞击”。这与刚刚提到的安装在分体尾钩上的新传动系统形成对比。这一切听起来很熟悉对吧?事实上,自从SRAM UDH的出现和随后推出的Eagle Transmission以来,似乎每个人都想参与直装后变速器的设计。
TRP直装变速器专利

今天公布的TRP的“自行车后变速器”专利(美国20230102982A1)实际上是在去年9月提交的,就在SRAM的直装式变速器谍照泄露后不久,也就是现在被正式命名为T-Type Eagle的变速器。
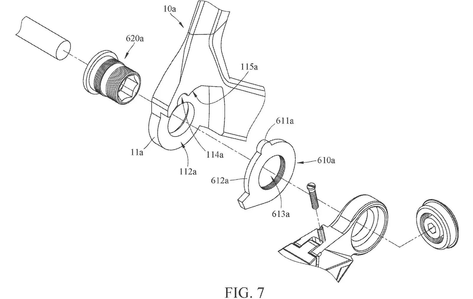
它清楚地描绘了一个直接安装在车架后叉上的后变速器,与T-Type Eagle后变速器和前不久介绍的Shimano直装专利完全不同。这两种变速器都有一个双管脚附件,其中后变速器底座部分的两个臂将后叉夹在中间。在这两种情况下,都需要拆下后轮才能拆下变速器。

我们从TRP看到的示例只有一个位于后叉外侧的支臂。在所有实现方法中,适配器位于钩爪的外表面和变速器底座部分的内表面之间,这个适配器通常有一个标签,设计用于与变速器底座上的B型螺丝,大概是为了让它能够很好地适配不同的飞轮。
这种设计当然与T-Type Eagle变速器与SRAM UDH后叉的附件有相似之处,而且实际上,我们认为TRP的概念变速器不能与现在无处不在的SRAM UDH后叉适配。原因是在过去的几年里,有大量知名自行车制造商跟进,SRAM将该外接接口设计为扁平且无特色,而TRP这将导致其他传动系统制造商不得已开发自己的制造方案。

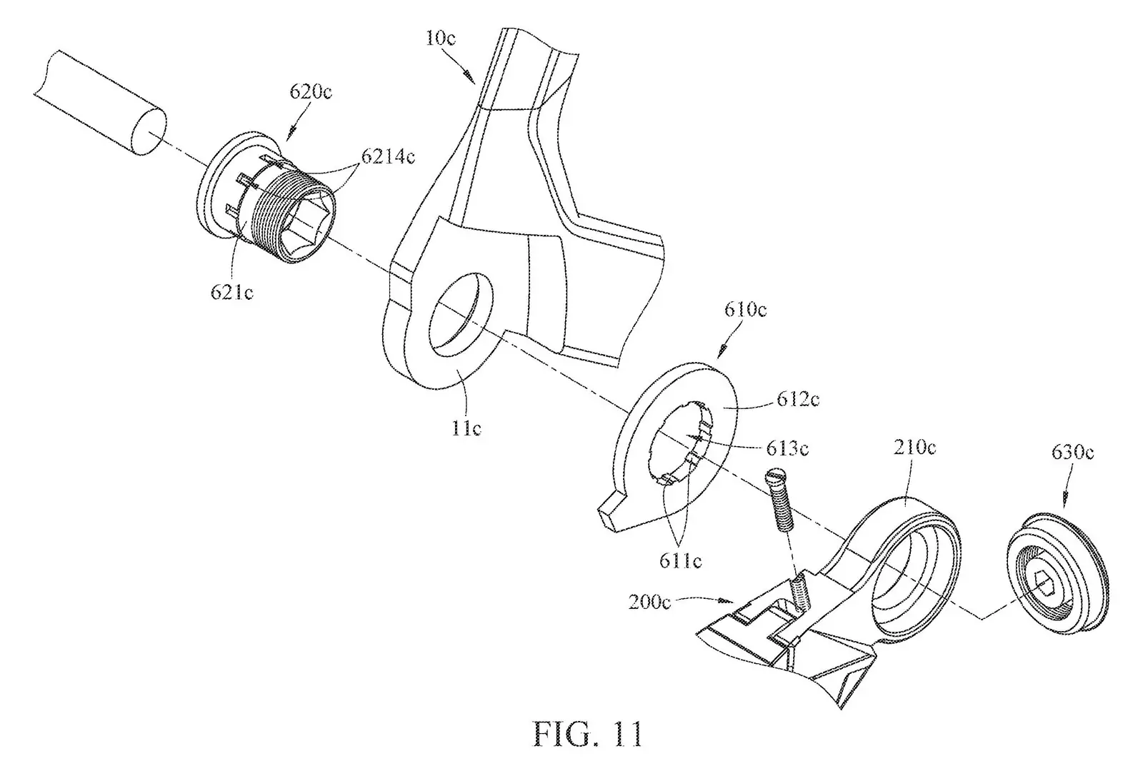
参考图11,TRP提出的直装解决方案使用三个独立的组件;衬套(620c)、适配器(610c)和紧固件(630c)。该系统和SRAM系统之间的一个显着区别是适配器(或滑块)的放置,在TRP的变速器上,一个滑块位于变速器和后叉之间。在SRAM系统上,此滑块位于后叉的内侧。无论哪种方式,它看起来仍然允许变速器在从前面受到重击的情况下顺时针(向后和向上)旋转。
在TRP的直装式变速器示例中,可以在不拆卸后轴的情况下从车架上拆下变速器,因为它仅安装在后叉的外侧,拆卸时只需拆下紧固件。
会是电子的吗?
我们还没有看到来自TRP的电子套件,不过如果他们正在研发电子套件,我们也不会感到惊讶。当然,图纸显示确实让平行四边形尾部看起来有空间可以容纳电池,但专利文件的文本没有提及该变速器是电子驱动还是机械驱动。该专利主要专注于描述如何将变速器安装到后叉上的细节,在很大程度上忽略了变速器的其他组成部件。
责任编辑:Ting